V ibrator series 振动器系列
A ir hammer series 气锤系列
R odless cylinder series 无杆气缸系列
M anual valve 手动阀
N
on standard
customization
非标定制系列

分类:
此气缸可采用三种不同导向形式,分别为:
导向杆式、快速导轨式和管式导轨等不同导向结构。客户可根据实际情况选用其中一种导向形式,订货时告知厂家。
特点:
导向杆式:结构轻便
管式导轨:稳定性好
快速导轨式:稳定性好、运动精度较高
用途:造纸、纺织等行业中的切割类型作业。
安装使用说明:
安装端座固定螺栓,调整好钢丝绳的松紧度。
压缩空气中含有水分和杂质,会造成管路及配件、缆索缸锈蚀,需要经过三联件(过滤器、调压阀、油雾器),然后供给到缆索缸。
无杆气缸工作期间,要定期涂抹润滑脂在钢丝绳上。
缆索缸要在工作气压(0.3Mpa~0.8Mpa)、工作温度(5°C~80°C)与额定输出力范围内使用,以免减少使用寿命。
缆索缸需要高速运行时,不应安装节流阀。
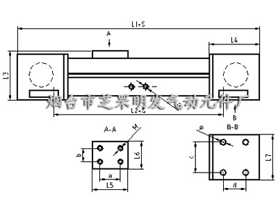
外形结构图:
管式导轨快速缆索气缸

导向杆式快速缆索气缸

快速导轨式缆索气缸


5、尺寸参数:
| 缸径(mm) | L1 | L2 | L3 | L4 | L5 | L6 | L7 | a | b | c | d | M | 安装孔Φ | 进气口G |
| 40 | 480 | 300 | 120 | 120 | 90 | 50 | 80 | 70 | 22 | 55 | 40 | 6 | 10 | 1/4" |
| 50 | 480 | 300 | 120 | 120 | 90 | 50 | 80 | 70 | 22 | 55 | 40 | 6 | 10 | 1/4" |
| 63 | 490 | 290 | 150 | 130 | 90 | 50 | 100 | 70 | 22 | 70 | 50 | 6 | 11.5 | 1/4" |
| 80 | 530 | 300 | 200 | 150 | 90 | 50 | 120 | 70 | 22 | 80 | 60 | 6 | 11.5 | 1/4" |
| 100 | 600 | 310 | 200 | 180 | 90 | 50 | 150 | 70 | 22 | 100 | 60 | 6 | 14 | 3/8" |
性能参数:
| 缸径(mm) | 行程范围(mm) | 介质温度(°C) | 空载平均运行速度(m/s) | 理论输出力(N) | ||||
| 0.4 MPa | 0.6 Mpa | 0.8 Mpa | 0.4 Mpa | 0.6 Mpa | 0.8 Mpa | |||
| 40 | 1-2000 | 5-80 | 1.5 | 2.8 | 3.2 | 228 | 342 | 457 |
| 50 | 1-3000 | 5-80 | 1.2 | 2.3 | 2.8 | 369 | 554 | 739 |
| 63 | 1-4000 | 5-80 | 0.9 | 2 | 2.3 | 598 | 896 | 1195 |
| 80 | 1-4000 | 5-80 | 0.7 | 1.5 | 1.8 | 964 | 1446 | 1929 |
| 100 | 1-5000 | 5-80 | 0.6 | 1 | 1.5 | 1529 | 2294 | 3060 |
注:如需定做非标无杆气缸,可直接与我厂电话联系定做